S-DES详解

S-DES详解

一、S-DES介绍

S-DES是DES算法的简化版,并没有什么实际使用的价值,只用于教学来理解DES算法的加密方法,那么可能就有小朋友会问了,为什么不是直接讲DES呢,Orz对于非信安的萌新来说,DES确实难,所以先看一下简洁版的S-DES的算法先预热预热。

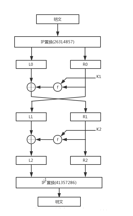
二、整体加密流程


看起来很可怕,其实就是三个部分,一个是左边的加密算法,一个中间的密钥生成算法,一个右边的解密算法
按常理,先罗列一下所需要的前提条件

1 >数学知识储备

1.置换

离散上有的,切确来说就是,比如p8{8,2,6,4,1,7,5,3},就是转换下标顺序,比如输入ABCDEFGH,经过p8,得到的HBFDAGEC

2.循环

比较好理解,就是左移右移,溢出的位循环补齐,比如ABCD,左移一位就是BCDA

3.如何选S盒中的值

S盒就相当于一个二位数组,作用是输入一个4 bit的二进制流,输出一个2bit的二进制流
规则:当输入ABCD,则选择(AD,BC)为坐标,比如下方的S盒

1
2
3
4
5
S0:
{1,0,3,2},
{3,2,1,0},
{0,2,1,3},
{3,1,3,2},

当输入0101时候,(AD,BC)= (01,10)=(1,2)=1=01 所以输出01,数组横纵坐标都是0~3

2>一些变量

1
2
3
4
5
6
7
8
9
10
11
12
13
14
15
16
17
18
P10 {3,5,2,7,4,10,1,9,8,6}
P8 {6,3,7,4,8,5,10,9} 注意这个置换选择输入10位输出8位
P4 {2,4,3,1}
IP {2,6,3,1,4,8,5,7}
IPI {4,1,3,5,7,2,8,6}
EP {4,1,2,3,2,3,4,1} 注意这个是扩展置换,输入4位输出8位
两个盒子
S0:
{1,0,3,2},
{3,2,1,0},
{0,2,1,3},
{3,1,3,2},

S1:
{0,1,2,3},
{2,0,1,3},
{3,0,1,0},
{2,1,0,3},

3>简单的实现

None的作用是占据下标为0的数组值

1
2
3
4
5
6
7
8
9
10
def P10(key):
k = [None] + key
return [k[3],k[5],k[2],k[7],k[4],k[10],k[1],k[9],k[8],k[6]]

def P8(key):
k = [None] + key
return [k[6],k[3],k[7],k[4],k[8],k[5],k[10],k[9]]

def Shift(value):
return value[1:] + value[0:1]

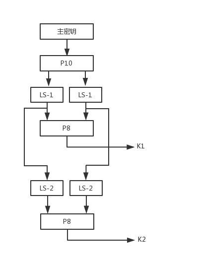
三、密钥生成

单独把密钥生成拿出来考虑的话,其实就是输入一个10bit的二进制,得到一个8bit的K1,一个8Bit的K2

假设我们的10位密钥 key=01111 11101

  • 1、p10置换得到11111 10011 ,(p10表在上面有
  • 2、记左半的为LK=11111,右半为RK=10011
  • 3、LK,RK循环左移一位,得到LK=11111,RK=00111
  • 4、LK,RK重组为11111 00111 做p8置换,得到K1=0101 1111
  • 5、抛弃第四条,把LK,RK再次循环左移两位得到LK=11111,RK=11100
  • 6、LK,PK重组得到11111 11100,做p8置换得到K2=1111 1100

到此位置密钥生成的算法我们就了解了

四、加密流程

函数解释

1.IP与IP-1

其实IP就是一个8bit到8bit的置换,IP-1是他的逆,(离散真香
实现就是

1
2
3
4
5
6
7
def IP(value):
v = [None] + value
return [k[2],k[6],k[3],k[1],k[4],k[8],k[5],k[7]]

def IPinv(value):
v = [None] + value
return [k[4],k[1],k[3],k[5],k[7],k[2],k[8],k[6]]
2.SW函数

在大图中有一个SW的函数,在小图中因为更详细就没有,其实意思就是高四位和第四位互换

1
2
def SW(value):
return value[4:] + value[:4]
3.剩下最后一个F函数

到目前为止,只剩下一个问题,就是F函数(大图的Fk函数),我们先看F函数的功能参数和返回值
参数:一个8bit的子密钥K1,一个4Bit的L0,一个4Bit的R0
返回值:4bit的新R1
假如K1为0101 1111,左半(高位)为L0=0100,右半(低位)为R0=1001

  • 1.对R0做EP扩展(4,1,2,3,2,3,4,1)置换,得Rm’=1100 0011
  • 2.Rm’与子密钥K1按位异或,得Rm’= 1001 1100
  • 3.Rm’左半1001进入S0盒替代选择得S0(11,00)=S0(3,1)=11,右半1100进入S1盒替代选择的S1(10,10)=S1(2,2)=01,所以的到了Rm’=1101
  • 4.对Rm’做P4(2,4,3,1)置换,得Rm’=1101
  • 5.Rm’与L0按位异或,得L0’=1001
  • 6.L0’与最开始的R0组合得到1001(L0’) 1001(R0)
  • 7.然后交换高低位,1001(R0) 1001(L0’)作为输入第二轮的输入即:L1=1001,R1=1001

到此第一轮循环完全结束,第二次也类似,第二轮结束的组合通过IP-1就算加密结束

五、简单的S-DES加密python实现

1
2
3
4
5
6
7
8
9
10
11
12
13
14
15
16
17
18
19
20
21
22
23
24
25
26
27
28
29
30
31
32
33
34
35
36
37
38
39
40
41
42
43
44
45
46
47
48
49
50
51
52
53
54
55
56
57
58
59
60
61
62
63
64
65
66
67
68
69
70
71
72
73
74
75
76
77
78
79
80
81
82
83
84
85
86
87
88
89
90
91
92
93
94
95
96
97
98
99
100
101
102
103
104
105
106
107
108
109
110
111
112
113
114
115
116
117
118
119
120
121
122
123
124
125
126
127
128
129
130
131
132
133
134
135
136
137
138
139
140
141
142
143
144
145
146
147
148
149
150
151
152
153
154
155
156
import string

plaintext = "11101010"
K = "0111111101"
rounds = 2
alphabet = string.ascii_uppercase

def bin_to_ascii_4bit(bin_string):
h1, h2 = split_half(bin_string)
return alphabet[bin_to_int(h1)] + alphabet[bin_to_int(h2)]

def P10(data):
box = [3, 5, 2, 7, 4, 10, 1, 9, 8, 6]
return "".join(list(map(lambda x: data[x - 1], box)))

def P8(data):
box = [6, 3, 7, 4, 8, 5, 10, 9]
return "".join(list(map(lambda x: data[x - 1], box)))

def P4(data):
box = [2, 4, 3, 1]
return "".join(list(map(lambda x: data[x - 1], box)))

def S0(data):
row = bin_to_int(data[0] + data[3])
col = bin_to_int(data[1] + data[2])
box = [ ["01", "00" ,"11", "10"],
["11", "10", "01", "00"],
["00", "10", "01", "11"],
["11", "01", "11", "10"]
]

return box[row][col]

def S1(data):
row = bin_to_int(data[0] + data[3])
col = bin_to_int(data[1] + data[2])
box = [ ["00", "01", "10", "11"],
["10", "00", "01", "11"],
["11", "00", "01", "00"],
["10", "01", "00", "11"]
]

return box[row][col]

def IP(data):
box = [2, 6, 3, 1, 4, 8, 5, 7]
return "".join(list(map(lambda x: data[x - 1], box)))

def IP_1(data):
box = [4, 1, 3, 5, 7, 2, 8, 6]
return "".join(list(map(lambda x: data[x - 1], box)))

def E_P(data):
box = [4, 1, 2, 3, 2, 3, 4, 1]
return "".join(list(map(lambda x: data[x - 1], box)))

def XOR(data, key):
return "".join(list(map(lambda x, y: str(int(x) ^ int(y)), data, key)))

def LS(data, amount):
return data[amount:] + data[:amount]

def SW(data):
data1, data2 = split_half(data)
return data2 + data1

def split_half(data):
return data[:int(len(data) / 2)], data[int(len(data) / 2):]

def int_to_bin(data):
return "{0:b}".format(data)

def bin_to_int(data):
return int(data, 2)

def generate_round_keys(key, rounds):
round_keys = []
k_h1, k_h2 = split_half(P10(key))

s = 0
for i in range(1, rounds + 1):
s += i
h1, h2 = LS(k_h1, s), LS(k_h2, s)
round_keys.append(P8(h1 + h2))

return round_keys

def encrypt(data, key):
round_keys = generate_round_keys(key, rounds)
ip1, ip2 = split_half(IP(data))
print("IP: {}".format(ip1 + ip2))

for i, r_key in enumerate(round_keys):
data = E_P(ip2)
data = XOR(data, r_key)
d1, d2 = split_half(data)
d1 = S0(d1)
d2 = S1(d2)
data = XOR(ip1, P4(d1 + d2)) + ip2
if i == 0:
print("First Fk: {}".format(data))
elif i == 1:
print("Second Fk: {}".format(data))

if i != len(round_keys) - 1:
ip1, ip2 = split_half(SW(data))
print("SW: {}".format(ip1 + ip2))
else:
ciphertext = IP_1(data)
print("IP-1: {}".format(ciphertext))

return ciphertext

def decrypt(data, key, comments=False):
round_keys = list(reversed(generate_round_keys(key, rounds)))
ip1, ip2 = split_half(IP(data))
if comments:
print("IP: {}".format(ip1 + ip2))

for i, r_key in enumerate(round_keys):
data = E_P(ip2)
data = XOR(data, r_key)
d1, d2 = split_half(data)
d1 = S0(d1)
d2 = S1(d2)
data = XOR(ip1, P4(d1 + d2)) + ip2
if comments and i == 0:
print("First Fk: {}".format(data))
elif comments and i == 1:
print("Second Fk: {}".format(data))

if i != len(round_keys) - 1:
ip1, ip2 = split_half(SW(data))
if comments:
print("SW: {}".format(ip1 + ip2))
else:
plaintext = IP_1(data)
if comments:
print("IP-1: {}".format(plaintext))


return plaintext


if __name__ == "__main__":
print("需要加密的明文为: {} ({})".format(plaintext, bin_to_ascii_4bit(plaintext)))
print("Key: {}".format(K))

print("\n以下是加密的过程\n-------------------\n")
C= encrypt(plaintext,K)
print("加密后的密文为: {} ({})".format(C, bin_to_ascii_4bit(C)))

print("\n以下是解密的过程\n-------------------\n")
d = decrypt(C, K, comments=True)
print("解密后的明文是: {} ({})".format(d, bin_to_ascii_4bit(d)))
关于本机
MacBook Pro
16-inch, 2099
内存 512 GB 6400 MHz DDR10
处理器 Apple M9 Pro
显卡 Neural X 32-Core
序列号 MACF-2099-A1B2C3
系统 macOS 18.4
主题作者 bkfish
Music
未发现本地音乐
把 MP3 放在 `source/music/`(或在主题配置里设置 `desktop.music_dir`)
Finder 聚焦搜索 文章清单 Safari Music Trash F flag B bomb S sudoku